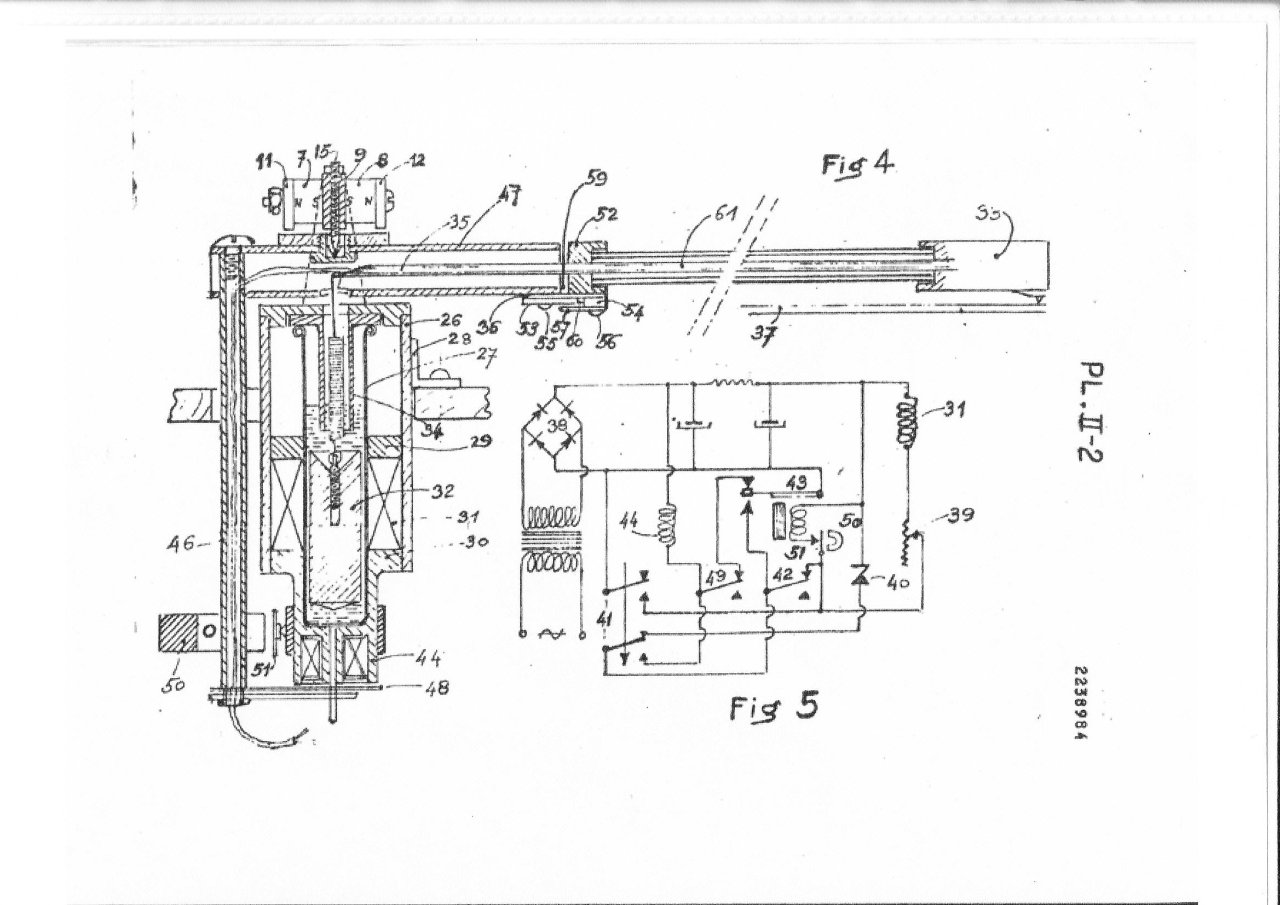
Je joint également la vue en coupe du bras ,issue du dépôt de brevet,très fidèle à la réalisation.gwir a écrit :L'aspect rustique de ce bras ne m'aurais pas inspiré confiance si j'en avais croisé un avant de voir cet article! Par contre peux-tu poster une vue d'ensemble du bras, on ne le voie pas en entier.
L'amortissement du bras est assuré par la présence de l'huile dans laquelle baigne le contre-poids et freine la descente de la cellule;pareil avec la graisse silicone dans le tube avant du bras.
